
产品品牌:HONGJUN/鸿骏
生产厂家:东莞市鸿骏仪器设备有限公司
24小时财富热线电话:138-2697-1056
鸿骏工厂可根据客户要求规格尺寸定制!
型号:HJ/CQ-5100A
东莞市鸿骏仪器设备有限公司HJ/CQ-系列UL94水平垂直燃烧试验仪(触摸屏)适用于检验和评定塑胶材料的燃烧特性,是根据美国 UL94 标准《设备和器具部件用塑胶材料的可燃性试验》中规定的有关条款设计制造,对设备和器具的塑胶部件进行水平、垂直可燃性试验,并配置有气体流量计,调节火焰大小,采用电机驱动方式,操作简单安全。本仪器可评定材料或泡沫塑料的可燃性如:V-0、V-1、V-2、HB、级。
94《防火测试》;
T2408-2008《塑料 燃烧性能的测定 水平法和垂直法》;
C60695-11-10《燃烧防火测试》;
5169.16-2017《电工电子产品着火危险试验 第16部分:试验火焰 50W水平与垂直火焰试验方法》;
容积:≥0.5立方米,带玻璃观察门;
:采用高精度计时器,0 ~ 999.99 秒范围内可调,精度±0.5 秒,施焰时间可设定,燃烧时间可记录;
统:PLC + 触摸屏自动控制及手动控制;
能:数据打印或USB数据存储(可选);
间:0 ~ 999.99 秒可设定;
间:0 ~ 999.99 秒可记录;
间:0 ~ 999.99 秒可记录;
气体:98%以上的甲烷/37MJ/m3天然气(煤气也可客户自备);
度:20 °、45 °、90 °(即 0 °) 可调节;
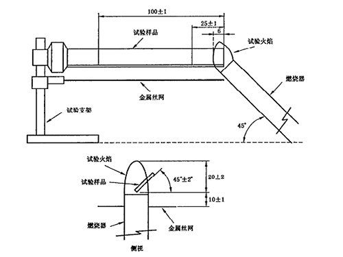
尺寸参数:采用进口本身灯,喷管内径 Ø9.5±0.3mm,喷管有效长度 100±10mm,有空气调节孔;
度:按标准要求可从 20mm 调至 175mm;
:采用105ml/min标准;
点:另配置有照明装置,抽气装置,燃气流量调节阀,燃气压力表,燃气压力调节阀,燃气流量计,燃气 U 型压力计及样品夹具;
风装置,及可燃气体泄漏报警装置(选配);
AC 220V,50Hz;
水平燃烧试验示意图:
垂直燃烧试验示意图:
1、通过ISO 9001:2015质量管理体系认证
2、通过ISO 14001:2015环境管理体系认证
3、荣誉AAA企业信用资质
4、荣誉AAA企业资信资质
5、荣誉AAA重合同守信用企业
6、荣誉AAA诚信经营示范企业
7、荣誉AAA质量服务诚信企业
8、荣誉AAA重质量守信用企业
9、荣誉AAA重服务守信用企业
10、产品品牌:鸿骏
11、24小时财富热线电话:138-2697-1056
12、生产商东莞市鸿骏仪器设备有限公司
可靠性环境测试试验设备类:
恒温恒湿箱(可程式、单点式、步入式、桌上型)、高低温试验箱、温度冲击湿热试验箱、高低温交变湿热试验箱、冲击湿热交变试验箱、恒温恒湿试验机、智能恒温恒湿箱、可编程恒温恒湿试验箱、可程式恒温恒湿箱、按键寿命试验机(单工位、双工位)、振动试验装置、盐水喷雾试验机(大型、经济型)、低气压老化箱、高温低气压试验箱、高海拔试验箱、高海拔高温低气压试验箱、高低温试验机、高低温交变湿热试验箱、高低温循环试验箱、可靠性环境试验设备、低气压试验箱、高温低气压试验箱、高海拔低气压试验箱、高压加速寿命试验机、换气式老化试验机、真空机、烧机老化房、砂尘试验机、真空干燥箱、真空烤漆、真空测漏箱、紫外光耐候试验机、盐雾试验箱、精密型盐雾试验机、盐水喷雾试验机……
电池测试试验设备类:
电池测试试验箱、新能源恒温恒湿箱、两槽式恒温试验箱、防爆型恒温箱、两槽式防爆型恒温箱、锂电池恒温恒湿箱、动力电池恒温恒湿箱、电池测试试验箱、PACK恒温恒湿箱、电池测试高低温湿热箱、电池类恒温箱、电芯测试恒温箱、电池恒温恒湿试验房、电池老化试验箱、电芯湿热试验箱、锂电池高低温循环箱、电池冲击防爆试验箱、锂电池高低温湿热交变试验箱、动力电池恒温恒湿箱、手机电池湿热试验箱、笔记本电池湿热试验箱、新能源高低温湿热试验箱、太阳能高低温循环试验箱、电子行业高低温湿热试验箱、电池高低温交变循环试验箱、锂电池冲击试验箱、动力电池冲击温度试验箱、可靠性试验设备等.......
拉力试验机类检测仪器:
拉力试验机、模拟运输振动试验台、电磁式振动台、电脑拉力试验机、微电脑拉力试验机、剥离强度试验机、单晶伺服油压万能材料试验机、电脑式侍服材料试验机、电子式双柱拉力试验机、万能材料试验机、卧式拉力机、桌上型电脑式村料试验机、桌上型拉力试验机……
手机、电脑类测试检测仪器:
双转轴扭力试验机、耐压试验机、按键开关花生试验机(单工位、键盘式、三工位)、电动按键荷重测定台、电脑控制系统手提电脑操作仿真耐久试验机、荷重显示器、扭力测试机……
电线电缆类:
导线保持力试验机、电线低温冲击试验装置、电线低温郑绕试验装置、电线电缆高压试验机、电线电缆高温奋力试验仪、电线电缆交直流高电压试验机、电线电缆试验机、电线发弧(耐电压)弯曲试验机、电线静态弯曲试验机、电线绝缘皮厚度台、电线耐磨试验机……
二次元投影仪类测量仪器:
CNC影像测量仪系列、二次元影像测量仪、三次元……
鸿骏橡胶、塑胶类仪器设备:
耐磨(耐耗、耐折)试验机、压缩应力松弛仪、橡胶数显式磨耗机、橡塑低温脆性试验机、压缩回弹试验机、橡胶数显式可塑性试验机、阿橡胶数显疲劳龟裂试验机、弹性试验机……
制鞋类检测仪器:
成品鞋耐弯曲试验机、国标成品鞋耐折试验机、鞋跟拉脱试验机、鞋眼与鞋带耐磨试验机、制鞋试验系列……
产品品牌:
HONGJUN/鸿骏(东莞市鸿骏仪器设备有限公司非标定制)。